System solution -Cold Briquetting Sponge Iron(CBI/CBSI)

Cold Briquetting Sponge Iron(CBI/CBSI)

Basic introduction

CBSI is a solution for the passivation treatment of cold direct reduced iron.
Compared to CDRI, CBSI has the following advantages
■Reduce the water absorption capacity of CDRI, thereby reducing its oxidation ability. It can be stored for a long time and used as a commodity.
■Arc can be ignited quickly in electric furnace smelting.
■ The density, strength and wear resistance of CBSI will be significantly improved, thereby reducing the generation of fine powder during transportation, as well as lowering transportation costs and operating costs.
■ Compared with HBI and CDRI, according to the requirements of steelmaking, CBSI can add appropriate other elements during the processing, such as controlling the carbon content and manganese content, and can directly smelt the suitable steel type.

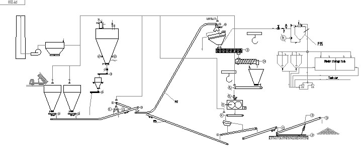
Luoyang Kaizheng Company has specially designed a special briquetting equipment for this purpose. It can provide comprehensive services including process engineering design, equipment supply, installation guidance and commissioning guidance.
Two production processes
1.No binder addition process (See Scheme 1 in Attachment 2)
The strength of its briquettes can reach over 600N, and the density is not less than 3.4t/m³. The arc ignition in the electric furnace is excellent.
This process is suitable for scenarios where long-term storage and long-distance transportation are not required. The cold CDSI can directly enter the electric furnace for smelting, and it is suitable for steel mills to establish their own CDSI factories.
It has the advantages of low investment and low operating costs.

This technology has already been successfully applied in China, with the full hydrogen-based shaft furnace Sponge Iron process paired with briquetting machine.
2.with binder addition process ( See Scheme 2 in Attachment 2)

The strength of its briquettes can reach over 2500N, and the density is not less than 3.4t/m³. The arc ignition in the electric furnace is excellent.

When CDSI is sold as a commodity, it requires extensive storage and long-distance transportation. As a result, the high strength of briquettes becomes a demand factor.At this point, an appropriate binder needs to be added.
Capacity of a single production line

Based on the finished product 50,000 to 300,000 tons per year

Project implementation process

Steps
Content
Implementing
1
Engineering design stage


The period: 5-45 days
Carried out by our company
Provide:
◆ P&I diagrams for binder , hydraulic
◆ The PFS Drawing
◆ TOP Drawing
◆ The General layout
◆ BD Drawing each Each device
◆ BE Drawing
◆ Electrical system network diagram
◆ Electrical system single-line diagram
◆ List of Motors and Instruments
Note: The civil engineering part will be entrusted to qualified design company for implementation. Alternatively, the user can choose any implementation company based on the BD diagram provided by our company.
2
Equipment ordering
The shortest period: 120 days
Overall, it will be implemented by our company.
3
The civil engineering sections such as the factory buildings and equipment foundations
Carried out by the user
4
Equipment acceptance inspection
The shortest period: 7 days
Carried out by the user
5
Equipment installation and commissioning
The shortest period: 30 days
Implementation entity: User
Our company will dispatch personnel to provide technical services.
6
Trial production and delivery
The shortest period: 3 days
Carried out jointly by the user and our company



Where there is briquette, mixing, drying,
and related system solution,there is Kaizheng








Copyright@2024 Luoyang Kaizheng Environmental Protection Processing Equipment Co., Ltd